-
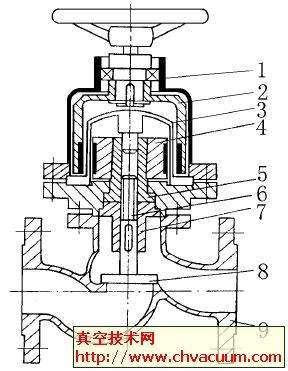
热水循环泵机械密封的失效分析及改造
分析了催化裂化装置取热器的热水循环泵机械密封泄漏、使用寿命短的原因, 通过改造该密封的密封压盖、动静环和自冲洗外冷却, 增加循环液节流结构和改进弹簧材料, 解决了热水循环泵机械密封失效的问题, 取得了较好的经
-
聚四氟乙烯(PTFE)性能简介
在氟塑料中聚四氟乙烯(PTFE)的消耗量最大,用途最广,塑料中的一个重要品种。PTFE具有优异的耐高低温性能和化学稳定性、很好的电绝缘性能、非粘附性、耐候性、阻燃性和良好的自润滑性,有“塑料王”之美称。
-
熔封气氛对金属与玻璃封接外观的影响
选择四种具有代表性的依次从还原到氧化的气氛,其氧化能力逐渐增强. 在这四种气氛下封接后,观察金属与玻璃封接外观底盘封接区的外观。以此来反映熔封气氛对金属与玻璃封接外观的影响。
-
金属与玻璃封接工艺对材料的要求
玻璃与金属的封接的形状颇多,通常有引线式封接、管状式封接、盘状式封接及片状或带状式(主要用于石英与钼的封接方面) 封接等几种. 要达到以上封接的目的,就要求对玻璃和金属及合金材料的性能有如下一些基本的要求。
-
磁力传动与绝对密封的原理
磁力传动由永磁联轴器来完成。永磁联轴器主要包括内磁转子、外磁转子及隔离套等零部件。原动机和外磁转子联在一起,工作机轴和内磁转子联在一起。两者之间设有全密封的隔离套,将内、外磁转子完全隔开,使内磁转子处
-
橡胶O形密封圈的特点
O形圈是挤压型密封的典型结构形式,在各种挤压型密封中,它的应用最广。O形圈广泛用于液压、空压系统和真空设备中,也用作容器压盖的衬垫或管道接头密封件。它还是其它型式密封(如机械密封、浮动环密封)的重要零件
真空资讯
[ 行业动态 ]2021年《真空与低温》优秀科技论文评选结果
[ 技术应用 ]机械密封可靠性大幅提升
[ 真空产品 ]河见公司推出AL型污水泵
[ 真空企业 ]立谛微真空系统(湖北)有限公司
推荐阅读
热门专题
阅读排行
- 1法兰密封面常见的几种形式
中、低压法兰常用密封面形式有平面、凹凸面及榫槽面三种。不同的
- 2常用CF法兰的型号和尺寸表
CF法兰分为固定型和松套型两种,本文提供了常用CF法兰的型号和尺
- 3NW法兰(KF法兰)的特点及主要型号和尺寸
小口径管路用橡胶圈密封真空法兰,被称为NW(或KF)法兰,广泛用于
- 4ISO法兰的主要型号和尺寸
ISO法兰是口径范围大的O形橡胶圈密封真空法兰,本文主要提供了IS
- 5电子束焊接的工作原理及特点
电子束焊接也是熔化焊的一种, 是一种高能量密度的熔化焊方法。它
- 6O型圈密封三种型式详解
本文主要讲述了三种型式的O型圈密封,如非自紧式O型圈密封、自紧
- 7法兰密封面的加工要求
法兰密封面的表面粗糙度是影响密封性能的重要因素之一,在各种法
- 8金属与金属的焊接方法
金属与金属的焊接方法主要有无压焊接和加压焊接,无压熔焊是不使
- 9球面密封结构锥形垫片的系列化研究
本文对球头-锥面密封结构的密封原理进行了介绍,并进一步分析了
- 10超高压液压密封方法探讨与应用
密封对超高压液压技术的可靠性来说起着举足轻重的作用。该文分析



















