推荐安全阀的工作原理
-
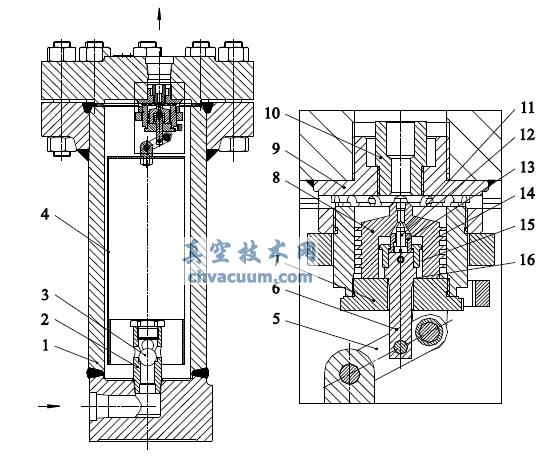
基于Solidworks气压调压阀的设计与分析
介绍了基于Solidworks软件对气压调压阀进行设计和分析,通过了对其建模设计、虚拟装配、运动仿真和分析、最后可生成工程图及在其插件PHOTOWORKS渲染输出效果图。
真空资讯
推荐阅读
热门专题
阅读排行
- 1针阀的工作原理及结构示意图
针阀的气体流通管路上设置有小的孔口,调节针状密封轴和孔口的距
- 2史上最全的阀门图形符号及说明
阀门图形符号是对阀门简单的图形标注,一般用于制图等领域。阀门
- 3电磁阀的结构和工作原理
改进了进口电磁阀的设计形式,重新设计了新型两位三通大流量电磁
- 4角阀的工作原理及结构示意图
本文讲述了氟胶圈角阀和全金属角阀的工作原理及其结构示意图。
- 5自动泄压阀的结构设计与工作原理
旁通液压控制泄压阀安装在主管道中止回阀出口侧的旁通管道上,与
- 6放气阀的工作原理及结构示意图
放气阀是向真空腔体内导入气体,以破坏真空的阀门(图1)。针对超
- 7动态平衡阀门的结构原理图和工作原理
动态平衡阀门的工作原理 动态平衡阀门的结构原理图和工作原理是
- 8电动阀和电磁阀的区别和用途
电磁阀是电磁线圈通电后产生磁力吸引克服弹簧的压力带动阀芯动作
- 9电磁先导阀的工作原理
调节螺钉能补偿阀芯阀座密封面的磨损, 阀芯有一定的活动度能补偿
- 10闸板阀的工作原理及结构示意图
闸板阀中的密封面,相对于气体流路的垂直方向运动而实现气流封止















