NaCl盐膜对铝青铜高温氧化行为的影响
铝青铜具有较高的强度及优良的导热、耐蚀性能,因而被广泛地用于电厂、船舶中冷凝管的热交换材料及其他耐蚀耐磨部件。有关铝青铜在介质中的腐蚀行为的研究报道较多,近期的研究结果发现,电弧喷涂的铝青铜涂层具有很好的抗高温氧化性能 ,但关于铝青铜在高温氯化盐膜作用下的氧化行为的研究未见报道,在真空技术网上也未见相关文章发表。由于一些冷凝管、过热器等部件在服役过程中因温度过高而易发生氧化腐蚀,而部件表面的沉积盐可加速其腐蚀过程 ,而NaCl是沉积盐中的典型组分。为此,本文研究了在700~900℃铝青铜表面未涂和涂有NaCl盐膜的氧化行为,并对其氧化机制进行分析,所得结果对丰富铝青铜的高温氧化腐蚀及扩大其应用将有一定的理论与实际意义。
1、试验方法
试验材料为铝青铜, 其主要成分(质量分数,%)为89.12Cu,10.33Al,0.32Bi。试验材料采用真空中频感应炉熔炼,温度约1200℃时,在石墨模中浇注成棒料。然后,将棒料加工成尺寸为10mm ×10mm ×5 mm的试样,试验前样品用砂纸磨至1000号,经酒精清洗及预热后,用毛刷将过饱和的NaCl水溶液均匀涂于试样表面,烘干,试样表面可获得涂盐量约为3mg/cm2。然后,将表面涂NaCl盐膜和未涂NaCl盐膜的试样放在石英坩埚内,在SX-4-10型箱式电阻炉内进行氧化试验,其加热温度分别为700℃和900℃,间隔一定时间将石英坩埚取出,冷却到室温后,用ESJ-0524光电子天平(精度0.1mg)称其质量变化。用NEOPHOT-1型金相显微镜、D/max2rB型X射线衍射仪(XRD)、AD2VANTPXP-381型X射线荧光仪及KYKY-2800型扫描电镜(SEM/EDS)分析试样表面与截面腐蚀产物的形貌、成分和物相。
2、试验结果与分析
2.1、氧化动力学
图1为铝青铜在700℃和900℃的氧化动力学曲线。可以看出,涂NaCl盐膜的试样氧化增重明大于未涂NaCl盐膜试样的氧化增重, 这意味着NaCl盐膜能加速铝青铜的高温氧化过程,且温度越高,氧化增重越大。从氧化动力学曲线特征看,初期氧化增重幅度较大,随时间的延长其氧化增重幅度减小。

图1 铝青铜腐蚀动力学
2.2、氧化腐蚀形貌
图2为铝青铜组织。

图2 铝青铜的显微组织
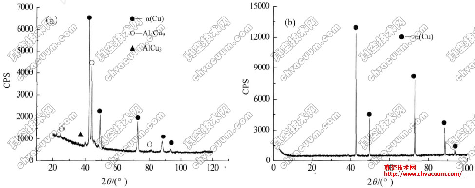
可以看出,铝青铜的铸态组织是由不规则的白色区和黑色区构成,结合XRD(图3(a))和EDS分析可知,白色区为α(Cu)的固溶体,黑色区主要由α(Cu)的固溶体、AlCu3和Al4Cu9相组成。由宏观观察可见,在700~900℃高温作用下,未涂NaCl盐膜的试样表面形成一层均匀致密的黑色氧化膜, XRD分析表明,形成的氧化物主要是CuO、Cu2O和Al2O3,且氧化皮剥落后的试样表面呈原色。而涂NaCl盐膜的试样表面形成的氧化膜较疏松,并且开裂和剥落较严重,氧化皮剥落后的试样表面呈紫红色,此时试样表面仅有α(Cu)的衍射峰(见图3(b)) 。
图3 铝青铜的X射线衍射图
(a)原材料; (b)氧化物脱落后试样表面(涂NaCl)











