轴流式止回阀的结构原理及性能特点
轴流式止回阀于1930年开发出来。它的开发是受接近于理想的设计要求的启发:一个止回阀能够满足于不同的应用工况中具有最大可靠性与最小维护运行成本。经过多年的应用,轴流式止回阀已经极好地证实了其可靠性和满足多种工况的能力,应用在很多严格场合。
轴流式止回阀的阀体内腔表面、导流罩、阀瓣等过流表面应有流线形态,且前圆后尖。流体在其表面主要表现为层流,没有或很少有湍流。
轴流式止回阀除具有一般止回阀的功能外,它还设计有减震弹簧,其硬密封带软密封的组合式阀座密封结构具有消声、减震效果,便于用户现场检修,独特的轴流梭式结构具有流阻小、流量系数大、外形尺寸小等优点,是国内外油气集输管网系统特别是输油泵出口的优选阀门。它适用于油、气、水浆液及含H2S+CO2酸性腐蚀性介质等管道系统,控制介质逆流使用。
轴流式止回阀在结构上采用了轴流梭式结构,其阀瓣安装有缓冲减震弹簧,当介质顺流时,阀瓣打开,介质通过阀体轴流式通道流通,介质推开阀瓣时,弹簧起到了缓冲效果,避免了普通止回阀开启时阀瓣与阀体之间的撞击振动。当介质逆向流动时,阀瓣快速关闭,阀瓣与阀座紧密贴合,阻止介质逆向流动。组合式硬密封带软密封的阀座结构能有效地降低阀瓣与阀座贴合时的冲击噪声。该类止回阀是流体集输管网防止介质逆流,消除噪声、振动的理想产品。
一、轴流式止回阀的类型
轴流式止回阀根据其阀瓣结构形式不同可以分套筒形、圆盘形、环盘形等多种形式,其基本结构形式见图1~图3。

图1 套筒形轴流式止回阀
1—固定螺杆;2—弹簧;3—导向套; 4—阀座;5—阀体

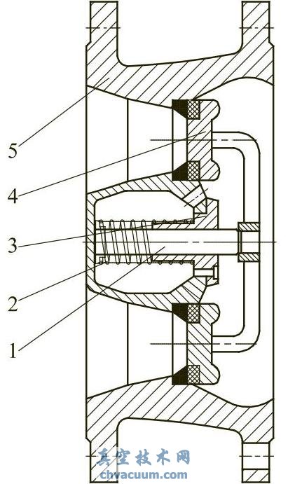
图2 圆盘形轴流式止回阀
1—阀体;2—阀座;3—阀瓣;4—弹簧; 5—固定螺杆;6—导流罩

图3 环盘形轴流式止回阀
1—阀体;2—导向套;3—阀座;4—弹簧; 5—固定螺杆;6—阀瓣
二、轴流式止回阀的结构特点
1、设计有减震弹簧,避免了普通止回阀开启时阀瓣与阀体之间的直接撞击产生振动和噪声。
2、阀座采用硬密封带软密封的组合式密封结构,具有消声、减震效果,便于用户现场检修。
3、结构紧凑、造型美观、外形尺寸小。
4、独特的轴流梭式结构,流阻小、流量系数大。
三、轴流式止回阀的工作原理
通过阀门进口端与出口端的压差来决定阀瓣的开启和关闭。当进口端压力大于出口端压力与弹簧力的总和时,阀瓣开启。只要有压差存在,阀瓣就一直处于开启状态,但开启度由压差的大小决定。当出口端压力与弹簧弹力的总和大于进口端压力时,阀瓣则关闭并一直处于关闭状态。由于阀瓣的开启与关闭是处于一个动态的力平衡系统中,因此阀门运行平稳,无噪声,水锤现象大大减少。
如果流体流速压力无法将阀门支撑在一个较大的开启度并保持在稳定的开启位置,则阀瓣和相关的运动部件可能会处于一种持续振动的状态。为了避免出现运动部件的过早磨损、噪声或振动,就要根据流体状态选择止回阀的通径。
轴流式止回阀的阀瓣重量轻,可减小在导向面上摩擦力,回座迅速。小质量低惯性的阀瓣经过一个短的行程并以极小的冲击力接触阀座面。这样能减轻阀座密封面遭到损坏,防止造成阀座泄漏。
轴流式止回阀关闭迅速,无撞击,质量小、惯性低的阀瓣经过一个短的行程并以极小的冲击力接触阀座面,能保持阀座密封面的良好状态,避免损坏。更重要的是,它能最大程度降低压力波动的形成,保证系统安全。














